DAH Solar Monet-100C — шкафная система накопления энергии для наружной установки
DAH Solar Monet-100C
Outdoor Cabinet Energy Storage System
Полное описание продукта по исходному PDF
с дополнением по открытым внешним источникам
Материал подготовлен на основе загруженного пользователем файла спецификации DAH Solar и дополнен сведениями из открытых англоязычных и международных источников. Основная техническая база
Важно: часть внешних материалов относится к близкой платформе Monet, встречающейся у других поставщиков и OEM/ODM-каналов. Такие сведения вынесены в отдельные разделы и не подменяют исходную спецификацию DAH.
1. Что это за продукт
DAH Solar Monet-100C — это шкафная система накопления энергии для наружной установки. По сути, это готовый промышленный модуль формата «аккумуляторный шкаф + силовая электроника + управление + климатическая система + защита», рассчитанный на работу в коммерческих и промышленных сценариях: сокращение пиков потребления, резервное питание, работа с солнечной генерацией и локальная энергетическая автономность на несколько часов.
В исходном PDF продукт прямо назван Outdoor Cabinet Energy Storage System. Это значит, что устройство изначально позиционируется как уличное исполнение, а не как оборудование только для машинного зала или внутреннего помещения.
Ключевая конфигурация из PDF: модель Monet-100C, субмодель 100TS(DC100)(215kWh), мощность 100 кВт, запас энергии 215 кВт·ч, батарея LFP (LiFePO4), номинальное напряжение батареи 768 В.
2. Что прямо сказано в PDF
Ниже — сжатое изложение того, что сам документ подтверждает без домыслов:
• Система относится к серии Monet.
• Это именно outdoor cabinet — уличный шкаф накопления энергии.
• Внутри интегрированы: батареи, modular PCS, система мониторинга и управления энергией, система распределения питания, environmental control system и fire control system.
• Шкаф рассчитан на on-grid и off-grid применение.
• В описании указано, что система поддерживает интеграцию с PV и имеет отдельные photovoltaic parameters.
• Фактическая схема подключения может отличаться от проекта к проекту; реальный монтаж должен выполняться по чертежам, приложенным к поставке.
3. Назначение и логика работы системы
По смыслу исходной спецификации Monet-100C не является «просто батареей». Это законченная энергетическая система, которая следит за мощностью, током, напряжением, режимами работы и перераспределяет потоки энергии между сетью, нагрузкой, батареей и, при наличии проекта с PV-входом, солнечной генерацией.
В PDF описаны два базовых прикладных сценария. Первый — peak shaving and valley filling: шкаф автоматически заряжается в часы дешёвого тарифа и разряжается в часы дорогого тарифа, уменьшая пиковое потребление и экономя деньги. Второй — photovoltaic-energy storage integration: приоритет отдаётся собственному потреблению солнечной генерации, избыток уходит в батарею, а при нехватке PV батарея помогает нагрузке.
Для пользователя это означает следующее: система полезна там, где нужно либо уменьшить счета за электричество, либо держать резерв мощности, либо повысить долю собственного потребления солнечной электростанции, либо обеспечить непрерывное питание объекта при нестабильной сети.
4. Состав системы по PDF
• Energy storage batteries — аккумуляторная часть.
• Modular PCS — силовая преобразовательная часть, отвечающая за заряд/разряд и взаимодействие с AC/DC-сторонами.
• Energy management monitoring system — управление и мониторинг.
• Power distribution system — силовое распределение.
• Environmental control system — климатический блок/поддержание условий внутри шкафа.
• Fire control system — система пожарной защиты.
• Local control screen — локальный экран управления/мониторинга.
Отдельно в PDF подчёркнуто, что шкаф использует front maintenance, то есть обслуживание с фронтальной стороны, что уменьшает требования по проходам обслуживания и упрощает доступ.
5. Полная таблица характеристик из PDF
Ниже таблица собрана строго по данным исходной спецификации DAH Solar. Формулировки адаптированы на русский язык, но сами значения сохранены.
Параметр | Значение |
Модель | Monet-100C |
Субмодель | 100TS(DC100)(215kWh) |
— Батарейные параметры — | |
Номинальная ёмкость батареи | 215 kWh |
Номинальное напряжение батареи | 768 V |
Диапазон напряжения батареи | 672 V ~ 864 V |
Тип батареи | LFP |
Конфигурация ячеек | 1P*20S*12S |
Ёмкость ячейки | 280 Ah |
Макс. мощность заряда/разряда | 0.5P |
Макс. ток заряда/разряда | 140 A |
— Параметры фотovoltaики — | |
Номинальная PV-мощность | 100 kW |
Диапазон PV-напряжения | 312 V ~ 500 V (minimum voltage -20 V) |
Макс. PV-ток | 160 A * 2 |
Количество MPPT | 2 |
— Параметры AC — | |
Номинальная AC-мощность | 100 kW |
Номинальный AC-ток | 144 A |
Номинальное AC-напряжение | 400 V, 3W+N+PE |
Номинальная AC-частота | 50/60 Hz |
THDi | < 3 (rated power) |
Коэффициент мощности | -1 leading to +1 lagging |
THDv | < 3% (linear load) |
— Общие параметры — | |
Степень защиты | IP55 |
Класс защиты | I |
Режим изоляции | Isolation transformer |
Саморазряд/потребление в отключенном состоянии | < 100 W (without transformer) |
Дисплей | LCD |
Относительная влажность | 0 ~ 95% (без конденсации) |
Шум | < 78 dB |
Температура окружающей среды | -25°C ~ +60°C (derating above 45°C) |
Охлаждение | Intelligent air-cooled |
Высота установки | 3000 m (>2000 m derating) |
Интерфейсы связи | CAN / Ethernet / 485 |
Габариты (W*D*H) | 1800 * 1200 * 2300 mm |
Масса (примерно) | 3260 kg |
6. Что означают эти характеристики простым языком
100 кВт — это мощность, которую шкаф может отдавать в нагрузку или принимать при заряде.
215 кВт·ч — это энергетический запас. При нагрузке 100 кВт его хватит примерно на 2,15 часа, а при 50 кВт — примерно на 4,3 часа, если считать идеализированно.
768 В DC — это уже высоковольтная батарейная система промышленного уровня, требующая профессионального монтажа и обслуживания.
LFP / LiFePO4 — это одна из самых популярных химий для стационарного накопления энергии благодаря ресурсу и сравнительно высокой безопасности.
IP55 — шкаф защищён от пыли и струй воды; это подтверждает пригодность для наружной установки, но не отменяет требований к нормальной площадке, фундаменту и сервисному доступу.
Intelligent air-cooled — внутри есть активное воздушное охлаждение/климатическая часть, а не просто пассивный металлический ящик.
7. Интерфейс управления и что оператор видит на экране
В разделе Human-machine Interface Introduction сообщает, что главная страница интерфейса показывает в реальном времени мощность, напряжение, ток, сгенерированную энергию, режим работы, рабочее состояние и другую информацию о системе.
На скриншоте видны блоки Grid Real Power, Running Mode, Working State, показатели по фазам, по нагрузке, PV, батарее, SOC и график мощности. Это типичный интерфейс C&I ESS для локального контроля и быстрой диагностики.
Практически это означает, что оператор или сервисный инженер получает с локального экрана базовую картину состояния шкафа без обязательного подключения ноутбука или внешней SCADA.
8. Конструктив и уличное исполнение
В PDF продукт прямо позиционируется как Outdoor Cabinet Energy Storage System. Это не комнатный серверный UPS, а наружный шкафной энергокомплекс.
В Product Features также прямо сказано, что степень защиты IP55 позволяет шкафу работать в разных погодных условиях во внешней среде.
Отдельным пунктом указано, что шкаф использует встроенный дверной кондиционирующий/климатический модуль, который не занимает полезное внутреннее пространство батарейного отсека, улучшает доступный объём шкафа и обеспечивает хорошую влагозащиту.
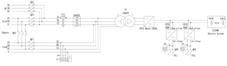
9. Что важно по проектированию и подключению
Самый важный технический абзац в PDF — это оговорка к схеме подключения. Там прямо сказано, что при наличии on-grid/off-grid, изолирующего трансформатора и PV-входа wiring configuration может отличаться для разных проектов. Иными словами, по одной рекламной картинке такой шкаф покупать нельзя: нужно смотреть комплект чертежей именно на вашу поставку.
Это означает, что заказчику надо заранее зафиксировать: нужен ли on-grid-only или on/off-grid вариант, нужен ли PV-вход, есть ли изолирующий трансформатор, какой именно ввод нагрузки, нужна ли бесшовность переключения, сколько шкафов будет работать параллельно, и как именно будет организована защита и автоматизация объекта.
Если объект критичный — ферма, производство, медицинский или IT-объект — вопросы вводной автоматики, коммутации, заземления, АВР/STS и селективности защит нужно уточнять ещё до подписания договора.
10. Что удалось дополнительно подтвердить из внешних источников
В открытых источниках похожая платформа Monet встречается не только в PDF с логотипом DAH Solar, но и на страницах Elecod, в международном каталоге ENF, а также на ряде OEM/ODM-площадок. Поэтому разумно предполагать, что речь идёт о платформенном продукте, который может поставляться под разными торговыми каналами и в разных конфигурациях.
На странице Pretapower по Monet-100C указано: модель Monet-100C, grid type — Hybrid Grid or On-Grid, storage energy — 100 kW / 215 kWh / LFP 280 Ah, cooling — air cooling, а также maximum in parallel: 4 units for the hybrid cabinet, no limit for the grid cabinet. Это полезно как внешнее подтверждение того, что у платформы действительно бывают разные режимы и варианты параллелирования.
Каталог ENF для близкой конфигурации Monet-100(DC100)(215kWh)(EV120) подтверждает ряд сопоставимых параметров: 215 кВт·ч, LFP, -25…+60 °C, IP55, мониторинг через экран и приложение. При этом размеры и масса там отличаются от PDF, что ещё раз подчёркивает: нельзя смешивать разные подмодификации и опции одной платформы.
11. Где такая система, вероятно, уже установлена в Украине
Публично подтверждённый открытый кейс, который удалось найти по близкой платформе Monet 100 кВт / 215 кВт·ч, опубликован на сайте Elecod. Там есть страница Elecod 100kW 215kWh Solar Energy Storage System project in Ukraine.
В описании кейса сказано, что заказчик — livestock farm in Ukraine, то есть животноводческая ферма в Украине. Заявленная конфигурация — 100kW/215kWh. В кратком публичном описании город, область и точный адрес не раскрываются.
Поэтому корректно говорить так: в открытом доступе есть хотя бы одно публичное упоминание о внедрении системы класса Monet 100kW/215kWh на животноводческой ферме в Украине, но точная площадка публично не названа.
12. Отзывы и публичная репутация этой системы
Содержательных независимых пользовательских отзывов именно по DAH Solar Monet-100C в открытом доступе практически не видно. В поисковой выдаче преобладают datasheet, product card, каталожные карточки, OEM-страницы и кейсы самих производителей или интеграторов.
Поэтому любой раздел «отзывы» для этой модели нужно подавать честно: это не массив реальных долгосрочных эксплуатационных откликов владельцев, а совокупность рыночных упоминаний. Из публичного поля видно, что у платформы есть рыночное присутствие, но этого недостаточно, чтобы делать вывод о реальной надёжности без разговора с инсталляторами и без живых референсов.
Если нужен действительно серьёзный выбор, надо просить у продавца не красивый буклет, а контакты реальных референс-объектов, журнал аварийности, условия гарантии, перечень ЗИП, сроки поставки силовых модулей и климатического блока, а также список фактически поставленных проектов в Европе или Украине.
13. Кому такой шкаф подходит
• фермы и агропредприятия, где важна непрерывность питания и сглаживание пиков;
• небольшие производства и мастерские с дорогими пиковыми тарифами;
• офисные и торговые объекты с задачей резервирования критичных нагрузок;
• объекты с солнечной станцией, где нужно повысить самоиспользование PV;
• микросетевые и гибридные проекты, где есть сеть, генератор и батарея.
14. На что смотреть перед покупкой
• Точный model / sub-model и полная спецификация именно вашей поставки.
• Наличие или отсутствие трансформатора, STS/переключающей автоматики, PV-входа, MPPT и off-grid-функции.
• Параллельная работа: сколько шкафов можно объединять именно в вашей версии.
• Тип климатического блока, алгоритмы работы зимой, подогрев, уставки температур.
• Тип пожарной защиты, наличие сертификатов и правила сервисной замены расходных частей.
• Гарантия на батарею, PCS и климатическую часть отдельно.
• Чертежи: single-line diagram, layout, foundation drawing, cable entry, earthing requirements.
• Подтверждённые референсы в вашей стране или хотя бы в похожих климатических условиях.
15. Вывод
Если опираться строго на PDF, DAH Solar Monet-100C — это уличный шкафной накопитель энергии класса C&I на 100 кВт / 215 кВт·ч с LFP-батареей, поддержкой on-grid/off-grid логики, интеграцией с PV, встроенной климатической и управляющей частью, а также локальным HMI.
Если дополнять картину открытыми источниками, видно, что вокруг этой платформы существует несколько близких вариантов и торговых исполнений. Это хороший признак гибкости, но и источник риска: покупателю очень важно не спутать похожие модели и не заказать «почти такой же» шкаф вместо нужной конкретной конфигурации.
Для сайта такой продукт можно позиционировать как промышленное решение для хранения энергии, резервирования и интеграции с солнечной генерацией. Для закупки — как объект, который требует не только коммерческого предложения, но и полноценной проектной документации, сервисной поддержки и проверяемых референсов.
Посмотреть онлайн файл: 100kw_215kwh.pdf
Посмотреть онлайн файл: user_manual_100kw_215kwh_outdoor_cabinet_ess.pdf



